February 7, 2025
Instructions - how to use our Tools
User manual - Sink bridge by Naniwa
This sharpening stone holder is simply placed on a sink. This way, you always have a clean sharpening spot at flowing water. Forget the usual mud fight when sharpening! The supports are made of soft plastic to avoid scratches on the sink. The construction is very stable.
For sink width (front to back) 400 - 546 mm
For stone length 203 - 257 mm
Note on sink size: If your sink is smaller than 400 mm, the movable stainless steel profile can be shortened by up to 7 cm (using a hacksaw or angle grinder). However, the minimum width of the sink is 33 cm!
Note on stone size: This sink bridge is designed for professional use. Therefore, you should use stones as large as possible with a length of at least 203 mm. For smaller stones, you will need a custom-built support.
For sink width (front to back) 400 - 546 mm
For stone length 203 - 257 mm
Note on sink size: If your sink is smaller than 400 mm, the movable stainless steel profile can be shortened by up to 7 cm (using a hacksaw or angle grinder). However, the minimum width of the sink is 33 cm!
Note on stone size: This sink bridge is designed for professional use. Therefore, you should use stones as large as possible with a length of at least 203 mm. For smaller stones, you will need a custom-built support.
In this image, you can see the seamlessly connected profile gauges. The profile length extends to 384 mm when connecting a small and a large template, and to 514 mm when connecting two large templates.
Note: You may need to rotate all the slats of a gauge by 180°!
Note: You may need to rotate all the slats of a gauge by 180°!

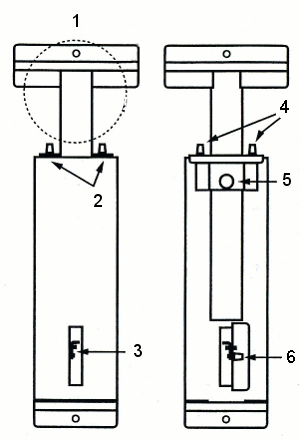
1) Setting for sink width
2) Setting for stone length
3) Rear stone stopper height adjustable
4) Front stone stopper adjustable for used stone size. After loosening the screw, the stopper can be flipped up and brought to the stone for fixation. The screw for this is located on the underside.
2) Setting for stone length
3) Rear stone stopper height adjustable
4) Front stone stopper adjustable for used stone size. After loosening the screw, the stopper can be flipped up and brought to the stone for fixation. The screw for this is located on the underside.
